
Functional Development and Engineering
Form follows function, and the engineering behind critical functionality is often easily overlooked. From concept to operational solution, a hands on approach is vital to successfully circumnavigating roadblocks during the development process.

R&D Electrode Stacking Machine
Engineering, design, prototype fabrication, and testing for the prototype Li-ion battery electrode stacker.

Concept Development
Simple functional prototypes were fabricated from low cost materials on-site to assess design requirements.

Iterative Development
Cycles of revision and functionality testing produce a refined design. It is critical during these iterations to perform end user research to guide feature selection.

Product Testing
prototypes are sent to our partner facilities to test functionality. Feedback is analyzed to determine if additional improvements are needed.

BOM and Pre-production
Supply chains are developed for each component, and the bill of materials is finalized.
Cost models are updated including component, assembly labor, Q.C., packaging and additional costs.
←→
Deep Drawn Press Rig
Design, engineering, CAD, fabrication, and iterative testing cycles for a flexible battery pouch forming tool.

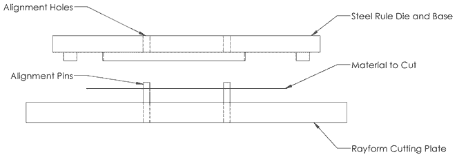
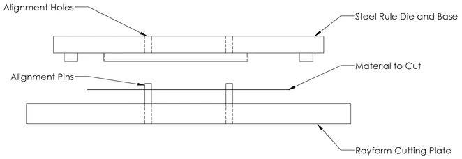
Substrate Blanking
Custom designed steel rule dies trim the blank with locatior holes in preperation for the emboss procedure.

Case Formation
The blank is manually fed into the press tool and seated via two locator pins that align to the pre cut holes on the blank. The press is activated and the case is formed.

Final Trim
The formed blank is now trimmed to the final dimensions, and is ready to be taken to the next step of cell assembly.
←→
Z-Axis Cell Test Fixture
Engineering, CAD, fabrication and assembly for battery swelling analysis fixtures.

Measurement During Cycle
Project parameters required performing continuous cell thickness measurements while the cell was charged and discharged to assess changes in electrode dimension.

Process Validation
Post fabrication, each fixture was tested using baseline cells with known swelling and performance variables to assess the accuracy and repeatability of the data collected.
←→
© 2026












